TO-4
详细信息
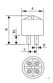
•精心设计的外型结构,各型号器件都能轻松放置和提取;•合理的接触方式,确保器件接触良好;•接触片和部件选用优质铜材,经良好的表面处理工艺,具有很长的使用寿命;•紧凑的结构,减低成本和空间;•合理的镀层厚度确保长期使用接触良好;•特种塑料制造,能耐受潮湿的环境,最高长期使用温度可达155 ℃;•超短订货周期。SOCKET DIMENSIONS单位:mm
产 品 型 号 IC封装 A B B1 C D 001-0000-040 TO-4(B4) 12.2 16.0 5.0 4.4 Φ2.0DESCRIPTION & ORDERING INFORMATION
相关产品
相关新闻







.jpg)




